
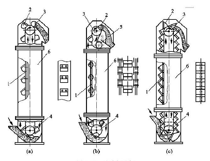
斗式提升机是由国外引进先进技术研制的新产品,主要技术参数符合机械部标准(JB3926-85)。采用自流式装料,重力式卸料。链条是优质合金钢高强度板式链条,耐磨而可靠,驱动部分采用硬齿面减速器。该机适用于中、大块和有磨琢性的物料(如石灰石、水泥熟料、石膏、块煤)的垂直输送,物料温度在250℃以下。
密封性好,环境污染少,作、维修方便、易损件少。
使用成本低,由于能耗低和维修少,使用成本低。
运行可靠,先进的设计原理,保证整机运行的可靠性。
结构刚性好,精度高。机壳经折边和中间压筋,再经焊接,刚性好、外观漂亮。
输送能力大,该系列提升机具有NE15~NE800多种规格。提升量范围为15~800m3/h 。
操作方便,维修少,易损件少。输送链为套筒滚子链,诱导式重力卸料,用于各种粉状、块状物料的垂直提升。
斗式提升机是流入式喂料,物料流入料斗内靠板链提升到顶端,在物料重力作用下自行卸料。本系列提升机规格多(NE15~NE800共11种)提升量大;且生产能高,能耗较低,可逐步代替其他类型提升机,其主要参数见下表。该机采用全封式机壳链速低,因此无功功率损耗少,噪声低,寿命长。


型号 | 输送量(m3/h) | 颗粒mm | 物料松散密度(t/m3) | 提升高度m | 功率范围km |
NE15 | 10~15 | 40 | 0.6~2.0 | 35 | 1.5~4 |
NE30 | 18.5~31 | 55 | 0.6~2.0 | 50 | 1.5~11 |
NE50 | 35~60 | 60 | 0.6~2.0 | 45 | 1.5~18.5 |
NE100 | 75~110 | 70 | 0.6~2.0 | 45 | 5.5~30 |
NE150 | 112~165 | 90 | 0.6~2.0 | 45 | 5.5~45 |
NE200 | 170~220 | 100 | 0.6~1.8 | 40 | 7.5~55 |
NE300 | 230~340 | 125 | 0.6~1.8 | 40 | 11~75 |
NE400 | 340~450 | 130 | 0.6~1.8 | 30 | 18.5~90 |
NE500 | 450~550 | 140 | 0.6~1.8 | 30 | 30~110 |
NE600 | 550~660 | 150 | 0.6~1.8 | 30 | 37~132 |
NE800 | 680~830 | 165 | 0.6~1.8 | 30 | ~160 |
留言我们为您提供定制化电池解决方案若您不知如何选择,欢迎随时致电或在线留言,我们将竭诚为您服务!
丰富的生产经验
18年专注于精细化粉体筛分设备的制造,使得我们积累了大量的生产和服务经验,也为我们更多客户,解决了粉体加工的难题。
整套生产线设计
严格执行国际质量标准体系和行业标准要求,我司专业承接精细粉体加工生产线的设计与生产项目,从破碎、筛分、输送、给料、混合到包装,为您提供一站式服务。
完善的服务支持
我公司建立了完善的售后服务体系,客户如遇产品问题,可随时拨打专属服务热线,享受24小时全天候即时技术支持。
惠及全球,在100多个国家和地区都享有盛誉,以优质的产品和服务赢得了众多品牌及知名企业的信赖!

